
発明品の特徴・ポイント
昨今は自動車やPC,携帯電話などにより腕を前に出すことが多くそれは、どうしても巻き肩や猫背になってしまう状態にあります。
腰痛対策には腰痛の該当部分をサポートするよりも前に、腰痛が起きにくい姿勢づくりがポイントです。
背もたれや睡眠時など、背中に当たりのついた状況であれば、今製品を使用することで、腰痛のおきにくい姿勢づくりから腰痛を対策することができます。
基本構造は一緒ですので自動車シートをはじめ、インナーウェア、オフィスやゲーミングチェアなどにも応用が利きます。
発明品の構造
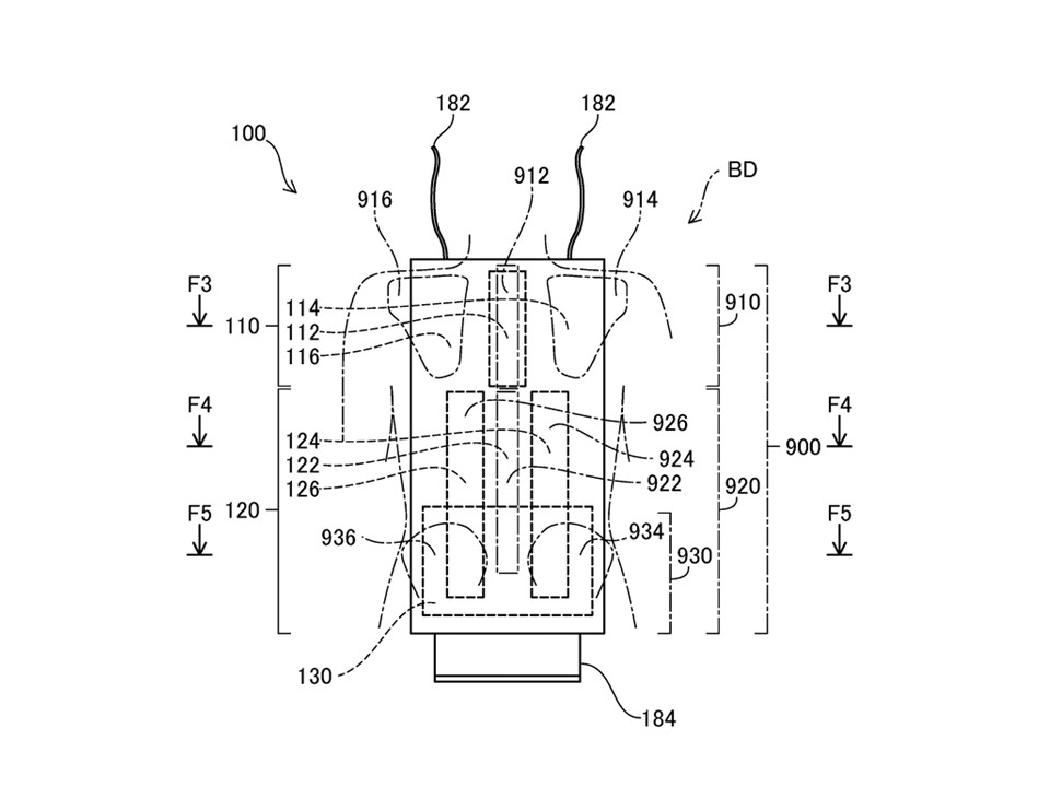
①みぞおちの背中側、肩甲骨と肩甲骨の間にストレッチポールのような厚めのサポーターがあることで胸が開いた状態を作ります。
②腰骨の背中側にサポーターがあることで骨盤が寝ている状態を起こし、骨盤を支え、①と合わせることで骨の構造からしっかりと猫背になりにくい状態(姿勢)を作ります。
③脊柱起立筋を中心に、空いた隙間へ様々な硬さの違うクッションを入れていくことで、体圧分散された状態で理想姿勢の形のまま腰痛対策ができます。
詳細な説明
日本人の座位時間は世界最長7時間と言われています。人生の3分の1人は睡眠と言われるように寝具にこだわるのであるなら、
座るモノにこだわり、姿勢という観点から腰痛だけでなく「健康」を意識していただきたいと考えます。
姿勢が良くなることで、活動時のパフォーマンス向上、睡眠時の疲労回復上昇が期待できます。
運輸の仕事、新幹線や飛行機・行楽シーズンの車などの移動、事務作業、睡眠時、入院時等、多岐に渡る状況での好環境づくりに寄与できると考えます。
また知り合いの柔道整復師に監修してもらっていますが、製品化した際には単に使用するだけではなく、使用方法などのレクチャー迄サポートできればとも考えております。
図面のサポートは、骨格を意識した姿勢サポートがメインとなっていますが、その他の部分にクッションを足していくことでより耐圧分散をさせより疲労軽減などの効果も期待できます。
登録請求の範囲
【請求項1】
車両の座席と着座者との間に装着されるシートクッションであって、前記着座者の背中のうち右肩甲骨および左肩甲骨が位置する背中上部を支持する上部サポート部と、前記着座者の前記背中のうち前記背中上部より下方の背中下部を支持する下部サポート
部とを備え、前記上部サポート部は、前記背中上部のうち右肩甲骨を支持する右肩甲骨サポート部と、前記背中上部のうち左肩甲骨を支持する左肩甲骨サポート部と、前記右肩甲骨サポート部と前記左肩甲骨サポート部との間に位置し、前記右肩甲骨と前記左肩甲骨との間の背骨上部を支持する背骨上部サポート部とを有し、前記下部サポート部は、前記背中下部において、前記背骨上部から続く背骨下部より右側を支持する右下部サ
ポート部と、前記背中下部における前記背骨下部より左側を支持する左下部サポート部と、前記右下部サポート部と前記左下部サポート部との間に位置し、前記背中下部における前記背骨下部を支持する背骨下部サポート部とを有し、前記背骨上部サポート部は、前記右肩甲骨サポート部および前記左肩甲骨サポート部よりも肉厚に形成されており、前記右下部サポート部および前記左下部サポート部は、前記背骨下部サポート部よりも
肉厚に形成されている、シートクッション。
【請求項2】
前記背骨上部サポート部は、肉厚を調整可能に構成されている請求項1に記載のシートクッション。
【請求項3】
前記右下部サポート部および前記左下部サポート部は、肉厚を調整可能に構成されている請求項1または請求項2に記載のシートクッション。
【請求項4】
車両の座席に座る着座者が着用する衣服であって、前記着座者の背中のうち右肩甲骨および左肩甲骨が位置する背中上部を支持する上部サポート部と、前記着座者の前記背中のうち前記背中上部より下方の背中下部を支持する下部サポート部とを備え、前記上部サポート部は、前記背中上部のうち右肩甲骨を支持する右肩甲骨サポート部と、前記背中上部のうち左肩甲骨を支持する左肩甲骨サポート部と、前記右肩甲骨サポート部と前記左肩甲骨サポート部との間に位置し、前記右肩甲骨と前記左肩甲骨との間の背骨上部を支持する背骨上部サポート部とを有し、前記下部サポート部は、前記背中下部において、前記背骨上部から続く背骨下部より右側を支持する右下部サポート部と、前記背中下部における前記背骨下部より左側を支持する左下部サポート部と、前記右下部サポート部と前記左下部サポート部との間に位置し、前記背中下部における前記背骨下部を支持する背骨下部サポート部とを有し、前記背骨上部サポート部は、前記右肩甲骨サポート部および左肩甲骨サポート部よりも肉厚に形成されており、前記右下部サポート部および前記左下部サポート部は、前記背骨下部サポート部よりも肉厚に形成されている、衣服。
【請求項5】
車両の座席であって、着座者の背中のうち右肩甲骨および左肩甲骨が位置する背中上部を支持する上部サポート部と、前記着座者の前記背中のうち前記背中上部より下方の背中下部を支持する下部サポート部とを備え、前記上部サポート部は、前記背中上部のうち右肩甲骨を支持する右肩甲骨サポート部と、前記背中上部のうち左肩甲骨を支持する左肩甲骨サポート部と、前記右肩甲骨サポート部と前記左肩甲骨サポート部との間に位置し、前記右肩甲骨と前記左肩甲骨との間の背骨上部を支持する背骨上部サポート部とを有し、前記下部サポート部は、前記背中下部において、前記背骨上部から続く背骨下部より右側を支持する右下部サポート部と、前記背中下部における前記背骨下部より左側を支持する左下部サポート部と、前記右下部サポート部と前記左下部サポート部との間に位置し、前記背中下部における前記背骨下部を支持する背骨下部サポート部とを有し、前記背骨上部サポート部は、前記右肩甲骨サポート部および左肩甲骨サポート部よりも肉厚に形成されており、前記右下部サポート部および前記左下部サポート部は、前記背骨下部サポート部よりも肉厚に形成されている、座席。
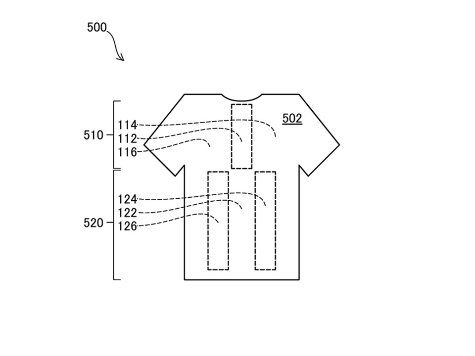
弁理士さんへイラストを依頼した為、要点をまとめたものになります。



試作品1号

発明家様へのお問い合わせフォーム
以下の内容は現在表示されている発明品の権利者様に直接メールが送信されます。
但し、メール登録の無い発明家様の場合は、一旦、当サイトにメールが送信されますので、
改めて発明者様のご連絡先情報を送信させていただきます。
問合せの発明品の名称:シートクッション、衣服および座席


