
発明品の特徴・ポイント
作業用前掛け、特にキッチンで使用するエプロンが該当しますが、着衣の方法としては、紐で結ぶ、あるいは、ボタンで留める、のが一般的です。しかしながら、手先があまり器用ではない人や手に障害がある人にとっては、着衣にかなりの時間を要します。誰でも簡単にエプロンの着脱が出来ることを目的として、マグネットを複数使ったエプロンを発明しました。
発明品の構造
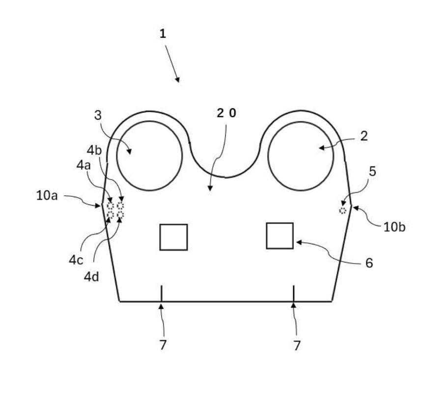
両肩を通す部分があり、背面で右端と左端が重なる構造となっており、その左右の端部には、マグネットがセットされております。
詳細な説明
右肩と左肩をそれぞれ通すような輪になっている部分があり、腰のところで、エプロンの左右の端部を重ね合わせる形になっており、それぞれの端部にマグネットが付いております。片方は、マグネット1個、もう片方は、マグネットを複数(3個から4個)取り付けております。
背面なので見えないところですが、マグネットを複数セットしてあるため、マグネットの位置合わせを気にしなくても、左右の端部を重ね合わせることにより、マグネット同士で自動的に引き寄せあい、離れなくなります。また、外す時は、少し強い力で引っ張ることにより可能です。
登録請求の範囲
【請求項1】
作業用前掛けであって、
前掛本体部と、
前記前掛本体部の上方に形成され、使用者の腕を通すための右肩用穴部及び左肩用穴部と、
前記前掛本体部の一方の側辺の第1背中重合せ部に設けられ、第1マグネットを有する第1マグネット部と、
前記前掛本体部の他方の側辺の第2背中重合せ部に設けられ、第2マグネットを有する第2マグネット部と、を備え、
前記作業用前掛けを着用したときに、第1マグネット部の前記第1マグネットに対応する位置となるように第2マグネット部の前記第2マグネットが配置されており、
前記第1マグネット部は、複数の前記第1マグネットを含み、前記第2マグネット部は1個の前記第2マグネットを含むことを特徴とする作業用前掛け。
【請求項2】
前記前掛本体部は、互いに対向して配置した表地と裏地を有し、
前記第1マグネット部の前記表地と前記裏地を縫い込んで、複数の袋部を形成し、
前記第1マグネット部に含まれる前記複数の第1マグネットのそれぞれは、前記複数の袋部の一つに分離して収納固定されていることを特徴とする請求項1に記載の作業用前掛け。
今回の発明品の使用例です。背面から見た図となります。

今回発明の作業用前掛けを広げた時の図となります。

発明家様へのお問い合わせフォーム
以下の内容は現在表示されている発明品の権利者様に直接メールが送信されます。
但し、メール登録の無い発明家様の場合は、一旦、当サイトにメールが送信されますので、
改めて発明者様のご連絡先情報を送信させていただきます。
問合せの発明品の名称:着脱簡易エプロン


