
発明品の特徴・ポイント
1.スムーズな脱ぎ履き
特殊な縦ヘラ板部が長靴の後方に沿ってフィットし、履くときは足の滑りをサポート、脱ぐときは踵の引っ掛かりを防止します。
2.しっかり固定
使用中は足首周りを固定し、長靴が脱げにくい設計。作業中も安心して動けます。
3.簡単操作
押板部を押すだけで、縦ヘラ板部が弾性変形し、足とぴったり密着。脱ぎたいときはワンタッチでロック解除!
4.軽量で持ち運びやすい
コンパクトで軽量な設計なので、いつでもどこでも携帯可能です。
こんな方におすすめ!
•田んぼやぬかるんだ作業現場で働く方
•雨の日やアウトドアで長靴を頻繁に使う方
•長靴の脱ぎ履きが負担になっている方
「具足入子」は、作業効率を上げ、疲労を減らし、快適さをプラスする頼れる発明品です。
本発明品に関する詳細な情報やご質問がございましたら、
下記のお問い合わせフォームよりお気軽にお問い合わせください。
皆さまからのご連絡を心よりお待ち申し上げております。
具足入子 代表図

【図1】本考案に係る具足入子の概略斜視図である。

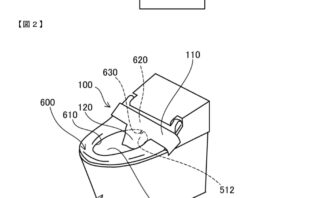
【図2】具足入子を足に当ててから長靴を履く様子を示す概略側面断面図である。

【図3】(a)長靴を履いている最中の様子を示す概略側面断面図である。(b)長靴を履き終えた後の様子を示す概略側面断面図である。

【図4】係止手段により、縦ヘラ板部を弾性変形させて係止した後の状態を示す概略側面断面図である。

【図5】(a)従来の一般的な長靴の側面図である。(b)着用又は着脱の際に踵がくびれた部分に引っ掛かる様子を示した図である。

発明家様へのお問い合わせフォーム
以下の内容は現在表示されている発明品の権利者様に直接メールが送信されます。
但し、メール登録の無い発明家様の場合は、一旦、当サイトにメールが送信されますので、
改めて発明者様のご連絡先情報を送信させていただきます。
問合せの発明品の名称:具足入子


